Cs. Kádár Péter - XXI. századi Diszkónika, 428. Elő-előke
A mozgótekercses hangszedők kimenő feszültségét nemcsak transzformátorral lehet megnövelni, hanem aktív elektronikus eszközöket tartalmazó berendezésekkel is.
Ez utóbbiakat elő-előerősítőknek hívják, ami elég béna elnevezés, de kifejezi a lényeget. Én MC előerősítőnek fogom nevezni őket. Az ilyen erősítőkkel szemben támasztott követelmény a rendkívül kis zaj és a fürgeség, vagyis az, hogy a tranzienseket a lehető legkisebb torzítással vigyék át. Ez a két paraméter egyszerre nehezen teljesíthető, mert a jó tranziens átvitelhez minél nagyobb sávszélesség kell, a zaj nagysága pedig sávszélesség függő. Ráadásul mind az elektroncsövek, mind a félvezetők a termikus zajon kívül más zajokat is termelnek (lásd a sorozat 44. és 45. részét). Ezek a zajok csökkenthetők több cső, tranzisztor vagy FET párhuzamos kapcsolásával, de akkor meg a bemeneti kapacitás nő meg.
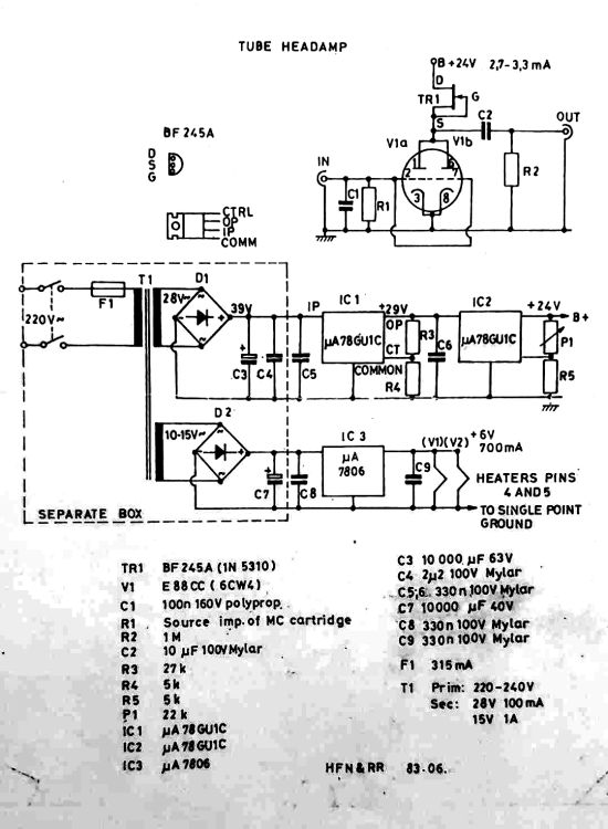
A következő ábra olyan MC előerősítő kapcsolási rajza, amelyben egy kettős trióda két triódáját kötötték párhuzamosan. Egyik érdekessége, hogy az anódkörben levő FET áramgenerátorként/vezérelt ellenállásként viselkedik. Ez az alkatrész tehát nem a jelútban van. Bevallom neked, hogy én is szakemberhez fordultam, mert ezzel a megoldással még nem találkoztam. Ő elmagyarázta nekem, hogy akkor lesz állandó az anódáram, ha a FET-nek és a cső belső ellenállásának összege állandó. Tehát minél jobban kinyitjuk a csövet, aminek következtében a belső ellenállása lecsökken, annál jobban zár a FET. Ennek következtében a kimenő feszültség nem függ az áram rángatózásától. A másik érdekesség az alacsony tápfeszültség. A kapcsolásban alkalmazott, speciális elektroncsövet kis anódfeszültségre tervezték, és a belső ellenállása eleve is kicsi. A csövet stabilizált egyenárammal fűtik, ahogy ez rendesebb audiofil áramkörökben szokás a kisebb brumm érdekében. A kapcsolási rajz is felhívja a figyelmet arra, hogy a transzformátort és az egyenirányító részt a többi egységtől árnyékolva kell elkülöníteni.

Az elektroncsövekkel és a FET-ekkel szemben a tranzisztor hátránya az is, hogy áramvezérelt az eszköz, tehát minél több tranzisztor kapcsolunk párhuzamosan, annál nagyobb áramot kell kiböffentenie a hangszedőnek, amire az vagy képes vagy nem. De még akkor is baj van, ha csupán egyetlen tranzisztor nyomja magából a kakaót, ugyanis a vezérlés áramigénye a tranzisztor bázisára adott jel nagyságának a függvénye. Már egyetlen szinusz esetén sem mindegy, hogy a bemenő jel pillanatnyi amplitúdója mekkora, s hogy a periódus pozitív vagy negatív szakaszában van-e. Az áramfüggés következménye, hogy a hangszedőt állandóan változó impedancia terheli.
Az sem jó, ha az aktív eszköz túl gyors, mert gerjedés lehet az eredménye. Sőt, a tranzisztoros, túl gyors erősítőknél kimutatták, hogy ha összetett jelet adnak a bejáratára, akkor a kijáratán fűszerű lesz a spektrum, és ez az egyik oka annak, hogy a félvezetős cuccok furcsán szólnak. Az alábbi ábrán nem a zaj zsizseg, hanem két szinuszjel eredője.

A csöves erősítőkben általában nincs szükség arra, hogy az erősítő stabilitását a kijáratról a bejáratra ellenfázisban visszavezetett, negatív visszacsatolással érjék el. A visszacsatolás ugyanis azért hibaforrás, mert az erősítő által termelt torz jelet késéssel vezeti vissza a kimenetről a bemenetre, s ezzel újabb torzítást visz a rendszerbe. Ugyanakkor a negatív visszacsatolással az erősítő erősítése állítható be; minden műveleti erősítőt tartalmazó áramkörben ezért van negatív visszacsatolás.
Mivel elektronikus erősítőkről van szó, a zajon kívül természetesen az összes, szokásos torzítás kellék is játszik, vagyis a lineáris és a nemlineáris torzítások egyaránt borzolják a hangképet. Ugyanakkor elvileg egyszerű, lineáris erősítőkről van szó. Sok esetben áramtükörrel (lásd a sorozat 356. részét) kezdődik az MC erősítő aktív része. A műveleti erősítők eleve ilyenek, de diszkrét alkatrészekből is készíthetők áramtükrök, csak szigorúan párba kell válogatni a tükör alkatrészeit. Az áramtükrös megoldás egyik legendás kapcsolási rajza és nyomtatott áramköre a L’Audiophile című folyóirat 1980. júniusi számában jelent meg.

A kapcsolás konstruktőre Jean Hiraga volt.

Ezen kapcsolás alapján rengetegen építették meg az MC előerősítőt. Mivel az eredeti tranzisztorok már nem voltak kaphatók, próbálkoztak mindenféle más típussal, ami aztán vagy bejött vagy nem. Magát az áramkört is többször módosították. Az ilyen áramkör jó működésének feltétele, hogy a párba válogatott tranzisztorok azonos hőmérsékleten működjenek, továbbá a nyákot is gondosan kell megtervezni és elkészíteni a káros csatolások elkerülése érdekében.

Mivel a tápegységre különösen érzékeny a cucc, sokan akkumulátorról járatták, de készítettek hozzá tápegységeket is, pl. ezt:

Az alábbi fotó egy hasonló tápról készült, amit szintén ehhez az MC előerősítőhöz terveztek.

A következő kapcsolást Piret Endre villamosmérnök konstruálta, és a Rádiótechnika 1984. évi decemberi számában jelent meg. Érdekessége, hogy a kis bázis-emitter ellenállás (kisebb termikus zaj) érdekében a BD 139 típusú teljesítmény tranzisztort használták benne.

Ennek a kapcsolásnak a megépítéséhez most is kapható minden alkatrész. A bemeneti impedancia kb. 22 Ω, az erősítés 60-szoros, a THD <0,05% 100 mV kimenő feszültségnél. A kapcsolási rajzon az is látható, hogy csillagpontos a földelés a minél kisebb zavar érdekében.
Körbenézvén napjaink kínálatán, nem nagyon található önálló, nem MC-trafós MC előerősítő, ami érthető is, hiszen az MM előerősítő-RIAA korrektor egységekhez képest „csak” annyi a különbség, hogy kb. 20-30 dB-t kell erősíteni. Ez pedig megoldható úgy, hogy az MM erősítő elé beraknak egy igen kiszajú műveleti erősítőt. A készüléken meg van egy átkapcsoló, ami MC állásban ennek a műveleti erősítőnek a bejáratát rakja a bemeneti csatlakozóra, MM állásban pedig kihagyja ezt az áramkört. A kivételek közé tartozik a Hafler PH60 Phonostage, amelyet 2017 óta árulnak. A dobozkában RIAA korrektor is van, tehát közvetlenül végerősítő bejáratára csatlakoztatható. Jelenleg 120 és 700 dollár közötti áron veheted meg.

A Hafler cégről ritkán hallunk szép hazánkban, s mint a fenti fotón is látható, valójában a Radial Engineering nevű cég egyik márkája. A Radial Engineering székhelye a kanadai Vancouver mellett, Port Coquitlamben van. A céget Peter Janis és Domenico Pingitore 1992-ben alapította, és több ismert hangtechnikai gyártó kanadai importőreként kezdtek tevékenykedni, szorosabb kapcsolatot kialakítva a Jensen transzformátoraival. Miután Pingitore elhagyta a Radialt, Janis úgy döntött, hogy érdemes cuccokat gyártani is, és 1996-ban bemutatta a Radial első saját termékét, egy színpadi hangosításra, illetve stúdióbeli munkára szánt passzív di-boxot (lásd a sorozat 193. részét) a JDI-t, amelynek lelke egyetlen Jensen trafó volt.

Ami Haflert illeti, az is kacifántos történet. David Hafler az egyik legtermékenyebb mérnök és üzletember volt.

Hafler 1955-ben alapította a The Dyna Company-t üzleti partnerével, Ed Laurenttel, és első termékükként egy 50 W-os monó teljesítményerősítőt kínáltak Mark II. néven. (Vajon mi lehetett a Mark I ?) Mint minden további Dynaco termék, a Mark II kitként és gyárilag összeszerelt állapotban is megvásárolható volt. Ezt az erősítőt 1956-ban követte a Mark III, majd 1959-ben a 2*35 wattos Stereo 70 típusú végerősítő, amelyből 300 000 darabot adtak el.

A Dynaco 1966-ban dobta piacra első félvezető alapú termékeit, és az 1970-es évek elején mutatta be a Dynaquad négycsatornás adaptert, ami elég nagy disznóság volt, sokat ártott a kvadrofónia ügyének. Meg is bukott vele. Ebben az álkvadró megoldásban egyszerűen bekötöttek a sztereó bal és a sztereó jobb csatornába egy-egy 10 Ω-os ellenállást, és ezek másik végét forrasztották be a hátsó csatornákhoz vezető jelútba. Így négy végfokot és négy hangsugárzó rendszert lehetett elsózni. A Dynaquad adaptert önállóan is forgalmazták, ebben a változatban az első és a hátsó csatornák aránya szabályozható volt.

Hafler 1966-ban eladta a Dynacot a Tyconak, de 1974-ig továbbra is ennél a cégnél dolgozott. Az Ortofonnál eltöltött néhány év után 1977-ben megalapította a The David Hafler Company-t, és visszatért a piacra egy sztereó előerősítővel és annak kit változatával. Miután David Hafler nyugdíjba vonult, 1987-ben eladta a vállalatot a Rockford Corp.-nak. A Rockford irányítása alatt a Hafler márka a fogyasztói termékek helyett a professzionális hangtechnikai piac felé mozdult el. Aztán a Radial fölvette a kapcsolatot a Hafler erősítők kanadai forgalmazójával, végül 2014-ben megvásárolta a céget.

Miként a fenti fotón is láthatod, a Hafler PH60 MC előerősítő hagyományos, nem felületszerelt alkatrészeket tartalmaz, egyoldalas, katonai besorolású nyomtatott áramköri panelen. Belső tápegysége nincs, kikapcsolható rumpliszűrője viszont van. A bemeneti ellenállás belső áthidalókkal – jumperekkel – változtatható 20 Ω, 50 Ω és 100 Ω között, de külön rendelésre a gyártó jó pénzért bármilyen ellenállást is küld neked. A pirossal bekeretezett rész az MC fokozat, amelyben csatornánként 8 darab 2N4403 típusú pnp tranzisztort kötöttek párhuzamosan. A 2N4403 tök átlagos, még csak nem is különösebben kiszajú jószág, amelyből egy 30 darabos vadiúj csomagot 99 centért dobnak utánad az eBay-en. A RIAA korrektor Texas Instruments logojú, eredetileg National LM833-N kettős, kiszajú műveleti erősítő köré épül.

A Hafler P60 erősítése 70 dB. A mérések szerint egészen tisztességes szerkezet, a szubjektív tesztek viszont belépő szintű ketyerének tartják.
Hazánkban is kapható a Rega Fono MC MK4 kb. 130 ezer forintért, amelyet elsősorban a Rega mozgótekercses hangszedőihez ajánlanak (naná), de más MC hangszedőkhöz is használható.

A lelke a Linear Systems cég LSK 389 típusú, nagyon kiszajú és kiskapacitású, n csatornás JFET bemenetű kettős műveleti erősítő – az alábbi fotón 3-mal jelölve.

A műszaki adatait az alábbi táblázat alapján csócsálhatod.

A szubjektív tesztek szerint egészen kellemes a cucc – egy német tesztmagazin 86%-ra értékelte, de nem éri el a jobb MC trafók minőségét.