Cs. Kádár Péter - XXI. századi Diszkónika, 297. Ritmuskvartett - negyedik darab
A mintavételen alapuló szintézis győzelmét a Rolandnak is be kellett látnia. 1984-85-ben dobta piacra a TR-707, illetve a TR-727 ritmusgépet, 960 dolláros listaáron.
A két szerkezet csupán a színvilágát és a hangkészletét tekintve tért el egymástól; a 727 un. latin hangszereket tartalmazott. Annak idején több felhasználónak is megvolt mind a két gépe, mert ezek midin vagy DIN Syncen keresztül összekapcsolhatók voltak egymással, így mind a 30 hangszerhanggal tudtak játszani. Gyakran a TB-303 basszusszintetizátorral is összeeresztették őket.

A táblázatban szereplő rimshot a sorozat 187. részében szerepelt már; valójában ez nem külön hangszer, hanem az a játéktechnika, amikor a dobverővel a kávát és a membránt egyszerre üti meg a muzsikus. De mi a repedt répa például az állcsont a latin hangszerek között? A közismertebb nevén quijada tényleg állcsont, szamár, ló vagy öszvér állcsontjából készített idiofon (lásd a sorozat 164. részét) hangszer. Az állcsontot megtisztítják és megszárítják, hogy a fogak meglazuljanak és csörgőként működjenek.

A zenész az egyik végét az egyik kezében tartja, a másik végét pedig bottal vagy a másik kezével üti. A fogak a csontokhoz ütődve zörögnek, hangos, hangolatlan hangot hozva létre. A bot a fogak mentén is végighúzható, ezáltal reszelős hang keletkezik.
Ha nagyon szép állcsontokat akarsz látni, nézd meg Andrea Quijada és Pearl Quijada arcképét! Andrea Quijada az Amerikai Egyesült Államok médiahatóságának, az FCC-nek a munkatársa, valamint a családon belüli erőszak felszámolására és a bevándorlók jogainak érvényesítésére létrehozott szervezet, az Enlace Comunitario tanácsadója, meg még művészettörténész is. Pearl Quijada szintén tudós csaj, a professzor a San Diego Állami Egyetemen a sejt- és molekuláris biológia mesterképzésén szerezte a diplomáját. Jelenleg az egyik leghíresebb egyetemen, az UCLA-n tanít adjunktusként, a kutatásai a szívinfarktus megelőzésére és gyógyítására irányulnak. Gondoltad volna, hogy az állkapocs családnév is lehet? Lám, mi mindent talál a gugli, ha az ember egy hangszer iránt érdeklődik…

Az agogo eredetileg egyszerű fadob, van belőle egy-, két- és háromhangú is. Mivel a felülete recés, az agogon is megszólaltatható fűrészelős hang.

Az élet azonban sosem egyszerű, mert az az agogo, aminek a hangja a TR-727-ben van, fémből készült, brazil származású hangszer. Ez tehát egészen másfajta, de szintén idiofon zeneszerszám.

A hangja a kolomphoz hasonlít, bár harangjátéknak is tekinthető.
Amúgy az agogo is lehet családnév. Példa rá Manuel (Junior) Agogo, a fiatalon elhunyt ghánai focista.

A cabasa szintén egyszerű, idiofon hangszer, amely széles hengerre tekert golyóláncból épül föl. A hengert egy hosszú, keskeny fa vagy műanyag fogantyúhoz rögzítik.

Nem fogod elhinni, de létezik Cabasa családnév is. Ezt viseli például Lisa Ann Cabasa színésznő, aki a Twin Peaks két epizódjában szerepelt.

A többi hangszerről a sorozat korábbi részeiben találhatsz rövid ismertetést. A hangszerek hangján, vagy inkább elnevezésén kívül van itt más huncutság is.

A Roland honlapja szerint e ritmusgépek hangmintáinak felbontása 12 bit.

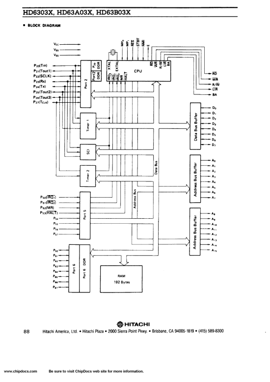
A szervízkönyvben azonban megtalálható a szerkezetek lelkének, a mikroprocesszornak a gyártója és a típusszáma: Hitachi HD6303X.

Ez a maga korában nagyon fáin proci (hasonló van pl. a korai Nintendo játékkonzolokban is) egyszerre 10 hangot tud kezelni, tehát a Tr-707/727 polifóniája és timbralitása tízszeres, ami a maga idejében átlagos tulajdonság volt. Ám ami a felbontást illeti, ez az IC csak nyolcbites. Kizárt, hogy egy nyolcbites áramkör megbirkózzon 12 bit felbontású digitális jelekkel. Ráadásul a lábcsin és a cinek ugyanazok a minták, mint amelyek a TR-909-ben mutatkoztak be. E három hangmintának a felbontása még csak nem is 8, hanem 6 bit. A Roland le is buktatja magát, amikor a honlap azon részén, amelyen a korai ritmusgépek emulátorait dicsőíti, utal arra, hogy e gépek hangmintáinak minősége technikai korlátok miatt gyengécske volt. Hazudik-e hát a Roland – és a cég adatait kritikátlanul átvéve, számos más publikáció? Ez igen jó példa arra, hogy amikor egy készülék adatlapját nézegeted, és majdnem elájulsz, milyen gyönyörűek a számok, mi mindenre kell figyelni. A Roland ugyanis nem azt állítja, hogy a mintavétel során a kvantálás 12 biten történt. Csak azt, hogy a minták 12 bitesek. Hogyan lehet egy 6 vagy 8 bites mintából 12 bites? Az egyik lehetőség az, amivel a Linn vagy a DMX trükközött, a µ-law algoritmus (lásd a sorozat 293. részét). Ez a látszott kevésbé valószínűnek. A másik a Roland saját megoldása, a sorozat 235. részében már bemutatott Linear Algorythm (LA) nevű eljárás. Ilyenkor a hangjelenségnek csak az elejét, a tranziens részt (A) és esetleg a visszafutást (D) mintavételezik, a kitartott szakaszt (S) hosszát hurkolással, a lecsengést (R) pedig csillapított szűrővel állítják elő. Ezeket hozzáadják a mintavett jelhez, a mesterséges lecsengés jobb felbontásával. Természetesen csak azt követően, hogy a mikroprocesszor végzett a dolgával. Valami homályos utalást tesz erre a Roland, de az LA-t konkrétan nem említi. Inkább mégis valamiféle tömörítésre gyanakszom, ugyanis a digitál-analóg átalakító, a NEC gyártmányú µPC624 is 8 bitet kezelő IC:

Ugyancsak nyolcbitesek az ultraibolya fénnyel törölhetők és újraprogramozhatók HN613128P típusú, Hitachi gyártmányú memóriák. Végül a Roland egyik publikációjának lábjegyzetéből (!) kiderült, hogy ez a cég is nemlineáris digitális-analóg konverziós eljárást használt, ami majdnem azt a pszichoakusztikai érzetet keltette, mintha 12 bites, lineáris lett volna a kódolás. Emlékeztetlek, hogy ezek a „majdnem”-ek azt jelentik, hogy „nem”. Miután pedig lelepleződött a Roland, hallgassad meg, mit tud a két masina
A TR-707/727-et a szegényember TR-909-esének is hívják, mert az alacsony ár érdekében csak az egyes hangszerek hangereje volt módosítható, a hangolásuk, hangszínük nem. A hangerőt kis tolópotenciométereket lehetett masszírozni.

Ezen szabályzók pályája könnyen szennyeződött, ezért még mostanában is lehet takarót kapni a TR 707/727-hez.

A TR 707/727 legszebb és igen hasznos része volt a kijelzője.

Igazi áldás volt, különösen a kezdők számára, és meglepő, hogy más gyártók annak idején miért nem utánozták ezt az ötletet is. A kijelzőn az egyes hangszerek minden beállított lépése azonnal látható volt a mintarácsban. A zenész megnézhette a tempót, a nóta sorszámát és a különféle programozási módokat is. A TR-707/727 programozási lehetőségei hasonlók voltak a TR-909-éhez: az ütemek, illetve az ütemeken belüli hangsúlyok, a keménység és a lágyság ezekben is szabályozható volt. Programozni vagy valós időben vagy lépésről-lépésre lehetett. A belső memória 64 mintát, de csak négy dalt tudott tárolni, de ezekbe a ritmusgépekbe is dugható volt az M-64C kazetta. A TR-707/729-16 midi csatornával rendelkezett, és mind poly módban (mind a 16 csatorna), mind omni módban képes volt működni (lásd a sorozat 256. részét), illetve, van midiidőzítő kimenete is (lásd a sorozat 260. részét) a más midis egyközökkel való szinkronizáláshoz.
Következzen hát néhány felvétel, amelyben Roland TR-707-et használtak. E nóták közé tartozik Rick Astley Never Gonna Give You Up című slágere is, de félve a várható népharagtól, ezt az ízlésficamot nem tettem be.











Bizonyára sok olyan felvétel létezik, amelyben TR-727 a ritmusgép, csak nincs róla információ. Azért egy kicsit mégis lehet válogatni közülük. A következő dalban pl. agogo ketyeg végig.

Az agogon kívül konga és harangjáték is megszólal, egyébként kőkemény dobhangok uralják a következő felvételt.

Az 1996-os felvétel remek példája annak, hogy az újrahasznosított fúziós hangzásokat hogyan kombinálják a modern technológiával. Elektromos zongora akkordjai keverednek gogo ritmusokkal, mély TR 808-as basszus rúgások örvénylenek friss timbalekkel és agogóval a TR-727-esből. A hangok masszív funk-szőnyegként fekszenek a rapperek laza és pimasz rímei mögött – írta egy lelkes rajongó. És tényleg.

Az alábbi deep house nótában a TR-727 ropogós agogoja szintetizátorral készített vonósok és soulos gospel vokálok mögött csörömpöl, quijadával és harangjátékkal fűszerezve. (A deep house-t kellemes, lágy dallamok jellemzik, nyugodt, mélyen fekvő hangok, amelyek gyakran disszonáns akkordokból állnak össze.)

A Roland TR-707/727-hez nagyon sokféle módosítás készült, s ami meglepő, hogy még napjainkban sem adták föl a buherátorok. A megszállottak azt is kinyomozták, ami hivatalosan sosem jelent meg, hogy a hangkészlet mintavételi frekvenciája 12,5 kHz … 25 kHz volt, és a beütő, illetve a kísérő cinhez még csak nem is 8, hanem külön 6 bites digitál-analóg átalakítót használtak. Chris Kann például IC-ket cserélt az alaplapon.

Ugyancsak ő egy kis dobozkát gyártott a saját készítésű kódjainak, hangmintáinak futtatásához.

2015-ben több ritmusgép hangjának megszólaltatására, illetve programozására tett kísérletet egy saját fejlesztésű cuccal. A következő videó erről szól. Azóta nincs hír felőle.
Ígéretesebb Harry Axten fejlesztése, aki 2020-ban dobta piacra a cége, a HKA Design bővítő kártyáját.
https://hkadesign.org.uk/tr707expansion.html

Ez a bővítés igazi retró cuccá alakítja a TR 707-et, ugyanis következő ritmusgépek hangkészletét tartalmazza: TR-707, TR-727, TR-808, TR-909, LinnDrum, LM-1, DMX, TR-707+TR-727 mix. Választani úgy lehet közöttük, hogy amikor bekapcsolod a ritmusgépet, az első nyolc szerkesztőgomb közül valamelyiket lenyomva tartod.

A bővítő beépítéséhez baráti viszonyban kell lenned a forrasztópákával. A teljes bővítő kit ára 55 font.

A HKA Design bővítőjével is együttműködnek a Circuitbenders cég módosításai.
https://www.circuitbenders.co.uk/drummachine/TR707.html

Az egyik módosítás 18 darab 3,5 mm-es TS lyukkal csúfítja el a TR 707/727-et annak érdekében, hogy minden fontos áramköri pont elérhető legyen vezérlés, illetve effektezés céljából.

A másik módosítással négyféle torzítás kapcsolható be-ki. Valamit a digitális-analóg átalakítón kínoznak.

A harmadik módosítással a lábcsin decay (visszatérés, visszafutás, vissszaesés) ideje változtatható külön-külön a nyitott és a zárt hangszeren. Ugyanez a módosítás egy külső jelforrás bemenetet is rávarázsol a lábcsinek visszaesést szabályozó áramköreire.

A negyedik módosítás a beütő és kísérő cinek visszaesési idejének szabályozását teszi lehetővé.

Az ötödik talán a legfontosabb: kilenc hangmagasság szabályzó van benne, csaknem minden hangszerre külön-külön.

Ha valamilyen csoda folytán van TR-707-ed vagy TR 727-ed, 250 fontért teljesen szétbarmoltathatod a ritmusgépedet, megrendelve az összes módosítást, és ezzel 15 fontot spórolhatsz meg. Mivel nekem nincs se TR-707-em, se TR-727-em, 250 fontot takarítottam meg, és semmit nem kellett tennem érte.
A Roland kvartettje valójában szextett, mert még két ritmusgépet is gyártott a sorozat részeként, ezeket azonban közel sem említik olyan gyakran, mint a már bemutatott négyest. Az egyik a TR-505, amelyet 1986-tól lehetett megvásárolni. Ez volt a legolcsóbb, a listaára 318 dollár volt. Nemrég láttam hirdetni a hozzá való HKA Design bővítővel 50 ezer forintért a menemszol.hu honlapon.

A 8 bites gép mintavételi frekvenciája 25 kHz volt, a hangszerkészletében 16 hangszer volt, ebből öt latin ritmushangszer. A polifóniája csak nyolcszoros volt, a szerkesztési lehetőségek a legalapvetőbbekre korlátozódtak, például a flam és a shuffle is hiányzott. Nem voltak hangszerenkénti, keverhető kimenetei, a midi viszont fejlettebb volt, pl. mind a négy üzemmódot (lásd ismét a sorozat 256. részét) tudta.

A Roland sorozatának utolsó cseppje 1987-ben a TR-626 volt. Kicsit többet kóstált, mint a TR-505, az Egyesült Királyságban pl. 350 font szerepelt az eredeti árcédulán.

A TR-626 újdonsága a ritmusprogramoknak SysEx utasításokkal (lásd a sorozat 256. részét) történő átvitele, mentése volt, ami fordítva is igaz, vagyis SysExekkel új programokat lehetett betölteni.
Noha csak 6 nóta ritmusprogramját tudta tárolni, a lépések száma 999-re bővült. A midi ebben a gépben szorította ki a DIN Sync-et. Immár 30 hangszerhang alkotta a hangkészletét, de a polifónia és a timbralitás csak nyolcszoros volt.
