Cs. Kádár Péter - XXI. századi Diszkónika, 372. Barázdában kalimpálók
A gramofonlemezeket lejátszó készülékek, röviden a gramofonok legizgalmasabbnak tűnő részei a hangszedők.
Nem mintha a többi egység vagy alkatrész megvalósítása nem lenne lényeges. Például rengeteget fejlődött a motor. Az alábbi képen egy felhúzhatós szerkezet vázlatát látod.

Az „A” az alsó, a „B” a felső lemez, ezek tartják a motort. Az 1 jelű a lemeztányér, a 2 jelű a főtengely, a 3 jelű a kurbli csatlakozója, a 4 jelű a centrifugális sebességstabilizátor, az 5 jelű a a két sebességbeállító kar, a 6 jelű a fogaskerekes áttétel, a 7 jelű a rugótartó doboz, a 8 jelű egy fogaskerék a felhúzás segítésére. Kicsit másképp néz ki, de hasonló elven alapul a következő fotón látható, 1910-ből származó mechanika.

Ami különösen érdekes, az a centrifugális sebességstabilizátor, ugyanis ilyeneket a villanymotoros gramofonokba is építettek, hiszen még nem léteztek sebességszabályzó elektronikák.

A centrifugális szabályozó tengelye menetes hajtómű segítségével kapcsolódik a motor rugótartó dobozához. A féktárcsa mozgathatóan van felszerelve a tengelyre, azon előre-hátra tud csúszni. A féktárcsa és a másik vége között általában három egyforma rugólap található, ezekre három egyenlő súlyt csavaroznak (ritkán szegecselnek). A fékpofával ellátott kar (mechanikusan) a gramofon sebességszabályozójához csatlakozik.

Ha a motor gyorsabban forog, a tengelyen (A) lévő tárcsa (B) befelé, a centrifugális erő viszont a súlyokat (G) kifelé nyomja. A rugólemezek (F) a folyamat során elhajlanak. A motor most egyre gyorsabban járna, de egy bizonyos ponton a filc- vagy bőrfejjel ellátott kar (H) lefékezi a tárcsát, s a B lemez egy kicsit kifelé tolja. Majd a motor ismét felveszi a sebességet, amíg a tárcsán lévő kar ismét le nem fékezi. Ez a folyamat olyan gyors, hogy a sebesség kis ingadozással állandó. A névleges, beállított sebességet a kar helyzete határozza meg.

Lassacskán felváltották a felhúzós motorokat a villanymotorok. Ezek működéséről a sorozat 339-341. részeiben volt szó.

Az átmeneti korszakban arra is volt példa, hogy a motor egyaránt működhetett elektromos árammal és rugóval. A piros nyíl a zavarszűrő kondenzátorokat jelöli, utalva arra, hogy ezeket biztosan ki kell cserélni.

Jöjjenek hát a hangszedők! Ezek a szerkezetek a tűvel kezdődnek. A napjainkban is használatos tű a hangszedő egyetlen olyan része, amely mechanikailag érintkezik a lemez barázdájával. A tű feladata, hogy lejátszáskor kövesse a barázda változásait pontosan úgy, ahogy azt a vágótű esztergálta a lemez vágásakor. A sokszorosítás okozta torzulásoktól most tekintsünk el! Logikus lenne, hogy a lejátszótűnek ugyanolyannak kell lennie, mint a vágótűnek, de ha ez így volna, a lejátszótű le is gyalulná az információt a lemezről. A lejátszótűvel szembeni követelmény, hogy ne rongálja a lemezt, és fordítva, olyan kemény legyen, hogy a lemez se rongálja őt.
A gramofonok tűje leggyakrabban acélból készült. A tű hegye kicsit lekerekített volt, hogy ne roncsolja a barázdát. Ezek a tűk egyetlen lemezoldal lejátszása után elkoptak, mert a sellaklemezek anyaga rideg volt.

Később volfrámból is készítettek tűket. Ezek több lemezoldallal is megbirkóztak, de jobban koptatták a lemezt.

A következő ábrasorozat azt mutatja meg, mi történik, ha egyre jobban kopott tűvel játszunk le egy sellaklemezt. Tulajdonképpen bármilyen analóg hanglemezt.

A 80-90 évvel ezelőtti tűformák világában nem könnyű eligazodni. Mindegyiknek megvan az előnye és a hátránya.

Léteztek és részben még léteznek egész halk, középhalk, halk, középhangos, hangos, egész hangos, duplahangos fajták, meg mindenfélék. Minél hangosabb lejátszásra volt alkalmas a tű, általában annál nagyobb volt a torzítás, de szintén általában annál kevésbé rongálta a lemezt, ugyanis a halk tűk vékonyabbak voltak és – eltekintve a magas hangok hiányától – barátságosabban szóltak ugyan, de könnyebben süllyedtek le a barázda aljába.

Az A és a B jelű a leggyakrabban gyártott középhangos és hangos változat. A C jelű kanál alakú, duplahangos, ami azt jelenti, hogy kétféle módon is be lehetett fogni a tűhöz csatlakozó szerkezetbe, és a befogástól függően középhangosan vagy hangosan szólaltatta meg a lemezt. Szintén duplahangos a szárnyas alakú, D jelű tű. Az E jelű, duplahangos koncertmodellnek négy rózsasziromszerű szárnya van. Az F és a G jelűek egész hangosak, a H jelű viszont szalon-halk, de fogalmam sincs, hogy ez mit jelent. A J jelű egész hangos, a K jelű ezzel szemben nagyon halk. Az L jelűről csupán annyi derül ki, hogy hajlított. A tűket dobozba csomagolva árusították.

Gramofontűt nemcsak acélból, hanem szinte bármilyen keményebb anyagból lehet faragni. Készültek tűk bambuszból, kaktusztövisből, sőt, fogpiszkálóból is fabrikálhatsz. Ezek a tűk jobban kímélik a lemezt, gyakran szebben is szólnak az acéltűknél, de a gyártók azt javasolják, hogy csak vadiúj lemezt játssz le velük, mert az acéltűk okozta roncsolásokat nem szeretik.
Egészen különlegesnek számít a jelenleg is gyártott az un. Burmai Színes Tű (Burmese Colour Needle, BCN)

Az 1929 óta forgalmazott tűtípusnak semmi köze sincs Burmához, mert ugyan sok helyen termesztik a tű alapanyagául szolgáló, Dél-Amerikában őshonos lógó fügekaktuszt, de Burmában még véletlenül sem. Egyébként a drágakő- és ékszeriparban a legfinomabb rubinokról azt mondják, hogy „burmai színűek”, függetlenül azok eredetétől. Nekem a „galambvér” színű jobban tetszik, de erről nem nyitok vitát.

A lógó fügekaktusz egyenes tövise barna és 3-4 centiméter hosszú. Az eredeti szabadalom szerint a fás anyagot a tüske külső felületéről vegyi és hőkezeléssel puhították meg, s aztán kézzel pucolták meg. A tű fő összetevője lignin, amely a kaktusztüskék legfontosabb alkotó eleme. Kémiailag térhálós, fenolos polimer. Na, megint beleszaladtam a szerves kémia nevű pofonba, de csak hogy örülj, iderakom a szerkezeti képletét.

A keményedést alkoholos vagy éteres kezeléssel érik el; és a máig fennmaradt gyártási folyamatban a festéket egyidejűleg, ugyanabban a folyadékban oldva végzik el. Az oldott anyagok azonban nem hatolnak túl a tövis külsején; így sem bevonóanyag, sem színezék soha nem érheti a lemezt, nem károsíthatja azt. Jelenleg négyféle BCN kapható.

A következő videó az acéltűt hasonlítja össze a BCN-nel.
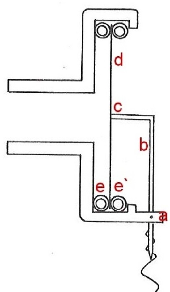
A tű a mechanikus rezgéseket átalakító szerkezethez csatlakozik, amit hangdoboznak is hívtak.

A tűtartó (a) mozgathatóan van felszerelve. Egy kis kar (b) továbbítja a hang rezgéseit. Ez a kar pontszerűen (d) csatlakozik a membránhoz (c) egy pontban. A membrán két gumitömítés (e és e´) között foglal helyet.

A hangdoboz a hangkarhoz csatlakozik. Ez a csatlakozás az amerikai és az európai gramofonoknál eltért egymástól.

Hangkarból is sokféle volt; ez a HMV típus az egyik legszebb.

Az alábbi videóból azt is megtudhatod, hogy meddig gyártották. Meg sok minden mást is.
Az elektromos hangszedőknek és gramofonjátszóknak innen volt szép nyerni.