Cs. Kádár Péter - XXI. századi Diszkónika, 290. Ritmusok és ősi gépek
Van valami szomorú abban, hogy a zeneművek túlnyomó többsége ritmikus, mégis az akusztikus ritmushangszereket, illetve az ilyen hangszereken játszó muzsikusokat hagyják ki, pótolják mással a legkönnyebben.
Azért az megnyugtató lehet, hogy miközben immár legalább 700 esztendeje, az első ismert mechanikus ütőautomata megszületése óta veszélyeztetett faj a dobos, még mindig nem sikerült teljesen kipusztítani őt, mi több, állandóan újratermelődik. Ugyanakkor az alábbi képen látható kisember aligha fogja megúszni súlyos halláskárosodás nélkül.

A teljes nevén Badi al-Zaman Abu al-Izz Ismail ibn al-Razzaz al-Jazari arab polihisztor találmányát tekintjük az első dobautomatának. 1206-ban írta le „A leleményes mechanikai eszközök ismerete” című könyvében a működését. Programozható zenei eszközében négy automata zenész volt, köztük két dobos, akik egy tavon lebegtek, hogy a vendégeket szórakoztassanak a királyi orgiákon. A szerkezetben levő bütykök az ütőhangokat működtető kis karokba ütköztek. A bütykök áthelyezésével a dobosokat különféle ritmusokkal és dobmintákkal lehetett játékra késztetni.

Az elektrofon ütős hangszerek két csoportra oszthatók. Az egyik csoportba a ritmusgépek tartoznak, ezeket dobgépeknek is nevezik. A másikba az elektronikus dobok, dobszintetizátorok.
Az első ritmusgépet Lev Szergejevics Tyermen készítette. Ő az, aki a tereminről híres (lásd a sorozat 209. részét). A Rhythmicon nevű, 1931-ben bemutatott hangszer fejlesztésének célja az volt, hogy a szerkezettel olyan, több ritmikus mintát tartalmazó kompozíciókat lehessen lejátszani, amelyet egy ember lehetetlen egyszerre előadni akusztikus billentyűzeten vagy ütőhangszereken. A találmány tizenhat különböző ritmust tudott előállítani, amelyek mindegyike egy adott hangmagassághoz kapcsolódott, akár külön-külön, akár tetszőleges kombinációban, tehát a hangszer polifoniája 16-szoros volt.

A ritmikus tartalom előállítása elektro-optikai módon, lyuggatott forgó lemezekkel történt, amelyek megszakították egy fénysugár útját. A fényt, illetve annak hiányát fotocellák alakították át elektromos jellé. A baloldalon látható lemez a hangmagasságért, a jobboldalon látható a ritmusért volt felelős.

A Polyrhythmophone néven is futott cuccból három darab készült. Ami a Rhythmiconban és a későbbi ritmusgépekben közös, az a sajátos, a hangszerre jellemző karakter – bár a Rhythmicon hangzása még elég szegényes, primitív volt. Noha a ritmusgépet gyakorlati okokból hozták létre, a technológiai fejlődés és a boldog balesetek sora segített abban, hogy azok közé az eszközök közé soroljuk, amelyet az emberek ugyanolyan szenvedélyesen használnak, mint zongorát, és hasonlóan találékonyan, mint az elektromos gitárt.
A történészek szerint a következő ritmusgép Harry Chamberlin alkotása, a magnószalag hurkokkal működő Rhythmate volt, 1948-ban. Erről a hangszerről a sorozat 240. részében volt szó.

Kb. 10 évvel később, 1959-ben dobta piacra a Wurlitzer cég a Sidemant, amely mechanikusan, egy forgó korong segítségével generált hangokat, hasonlóan a zenedobozokhoz. A tempót 34 és 150 bpm között egy csúszka szabályozta. Az egyes hangszerek egyenként is megszólalhattak a vezérlőpanelen található gombok segítségével.

A Sideman ritmusait csöves elektronika erősítette. Mély, lekerekített basszusdobjai, cinjeinek seprűs zörejei és ragyogó tamjai már hasonlítottak a Roland TR sorozatának hangjára, de az előre beállított ritmusok nagyjából megegyeztek a Rhythmate-vel.
A Sideman még olykor feltámad, pl. az alábbi nótában.

A Sideman már a piacon is sikert aratott, és kiváltotta az Amerikai Zenészek Szövetsége tiltakozását. Kiharcolták, hogy csak akkor használható a készülék a koktélbárokban, ha a billentyűsnek három zenész bérét fizetik. A Wurlitzer 1969-ben szüntette meg a Sideman gyártását.
Mond neked az a név valamit, hogy Raymond Scott? Pedig ha ez nem mond semmit, akkor a születési neve, Harry Warnow aztán végképp nem lehet ismerős.

Nekem se volt az, ameddig nem olvastam, hogy pl. a következő jelenetnek ő szerezte a zenéjét.
Meg ennek is.
Meg még vidámakat is komponált.
Egy Mozart-témát is feldolgozott.
Most nem ezért szeretjük, nem is azért, mert kiváló zongorista volt, s még csak azért sem, mert hangmérnökként jóval korábban alkalmazta a ráénekléses technikát, mint a kortársai. Sőt, mi, akik nem voltunk sem a kollégái, sem a hozzátartozói, nem is haragszunk rá, mert állítólag oltári nagy, antiszociális, pszichopata baromállat volt, megkeserítvén a muzsikus társai és a feleségei életét – sokan mások még csak nem is zsenik, mégis elviselhetetlenül bunkók. Azért emlékszünk rá, mert az egyik saját cégében arra pazarolta az iménti foglalkozások segítségével keresett zsét, hogy elektrofon hangszereket alkosson. 1960-ban megépítette a Rhythm Synthesisert, 1963-ban pedig a Bandito the Bongo Artist nevű ritmusgépet.

A tekintélyes monstrumot például az alábbi nóta felvételéhez használták.
Masszívan tartja magát a legenda, hogy a Korg későbbi alapítója 1962-ben vásárolt egy Sidemant, és egy éjszakai klubban a sztriptízbár tulajdonosának adott tanácsokat, hogy hogyan kell a ritmusgépet használni. És állítólag ekkor jött meg az ihlet a cég elődjének, a Keio-Gikennek a megalapításához (lásd a sorozat 236. részét). Az első ritmusgépük a Donca Matic DA-20 volt.

Ez a billentyűzetet és jó nagy hangszórókat is tartalmazó dög szintén forgókerekes és csöves volt. Kb. 2 000 dollár volt 1963-ban az ára, ami most kb. 17 ezer dollárt ér. Ez akkoriban egy jó japán szakmunkás évi jövedelme volt.
A múlt század hatvanas éveiben az elektroncsöves ritmusgépeket felváltották a tranzisztorosak. Ezek egyikét, a Rhyhm Prince nevűt a Seeburg Corporation gyártotta.

Ez még mindig forgókerékkel működött.
Ugyanennek a cégnek 1967-ben jelent meg a már programozható, teljesen elektronikus és végre viszonylag hordozható ritmusgépe, a Select-A-Rhythm.

Egy évvel korábban már megszületett a Donca Matic DA-20 utódja is, a Donca Matic DE-20.

Ennek a teljesen félvezetős gépnek a polifoniája négyszeres, és a timbralitása is annyi volt. 20 ritmus között lehetett válogatni.
Vannak, akik szívesen emlékeznek a Donca Maticra.

1967-ben a Keio két új konstrukcióval jelentkezett, a Mini Pop MP-5/MP-7-tel.


Ezek a készülékek már kinéztek valahogy. Az MP-5 volt a kisebb, 10 előre beállított ritmust kínálva, hangszín, tempó és hangerő vezérlésével. Az MP-7 már 20 ritmust kínált, 15-féle ütőshangszer hanggal. A Mini Popok hosszú élettartamúak voltak, és további hat modell is létezett. A fejlesztés közben lett Korg a cég neve. Az MP-5 és az MP-7 még mindig olyan ritmusokhoz kötött eszköz volt, mint a rumba, a tangó és a boszanova. A ritmusgép csak 1975-ben kezdett a kompozíció eszközévé válni. Bár a dobhangok még mindig primitívek voltak, az MP-7-fanok közé tartozott Jean-Michel Jarre.
Napjaink rajongói ingyen használhatják a Bucket Pops emulátort. A bővítmény fejlesztői 2020-ban az MP7-et célozták meg, és a siker nem maradt el. Nagyon baba a cucc.

15 hangszer keltette 20 ritmus közül válogathatsz. Változtathatod a hangszerek és a szekvenszer paramétereit. A szekvenszerben 20 saját mintát szerkeszthetsz. Minden paramétert midi üzikkel is masszírozhatsz. A programot a remek kézikönyvvel együtt az alábbi linkről töltheted le:
https://www.fullbucket.de/music/bucketpops.html

Letöltés után a tömörített filét csomagold ki, és a bővítményt másold be a hangmunkaállomásod „bővítmények” (plugins) mappájába!
A Mini Popból később kilenctagú sorozat lett, de az MP-7 volt a legjobb.

Egy cég még hiányzik, s jól gondolod, a Roland, amelynek 1972-ig Ace Electronics volt a neve. Már 1964-ben piacra dobott egy teljesen tranzisztoros ritmusgépet, a Rhytm Ace R1-et.

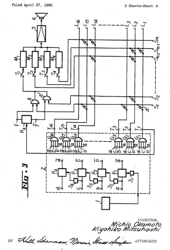
A szerkezet bukta volt, mert nem kínált előre programozott mintákat. Ugyanezért hasalt el az R3-is. Az ismétlődő ritmusok előállításához a cég fejlesztői egy diódamátrixnak nevezett szabadalmat nyújtottak be, amelyben meghatározták az egyes hangszerek pozícióját. A szabadalmi leírás kapuáramkörök sokaságát tartalmazza, amelyek egy számláló áramkörhöz csatlakoznak. A számláló áramkör kimeneti jele, a szintetizált kimeneti jel, a kívánt ritmussá válik. Az ábrán egy részletet láthatsz a szabadalomból, ami mintha hasonlítana a Seeburg és az eddig nem említett Nippon Columbia korábbi szabadalmaihoz.

A szabadalom volt az alapja az 1967-ben megjelent új sorozat első tagjának, aminek FR1 Rhythm Ace lett a neve.

Ez már igazi siker volt. A készülék a ritmusgépek egyik példaképévé vált. A Hammond is beépítette az orgonáiba.

A könnyen kezelhető szerkezet polifoniája és timbralitása négyszeres volt. Kb. 100 ritmusvariációt lehetett előcsalni belőle.