Cs. Kádár Péter - XXI. századi Diszkónika, 490. A CD-játszó elektronikája – egybites digitális-analóg átalakítók
A sokbites DA átalakítók tényleges, fixpontos felbontása 24 bit fölé csak a tápfeszültség jelentős növelésével érhető el, tehát az átalakító pontosságának fizikai korlátjai vannak.
A sorozat korábbi részeiből kiderült, hogy túlmintavétellel és annak trükkjei segítségével a DA átalakító úgy viselkedik, mintha a felbontása nagyobb lenne, vagyis a DA átalakító és az azt követő fokozatok kimenő jele kevésbé tér el az eredeti analóg jeltől. Már régen rájöttek arra, hogy a mintavételi frekvenciát érdemes nagyon nagyra növelni, ha az alakhűség fontos, és kevésbé számít az átviteli sebesség. Így születtek meg már a CD történetének viszonylag korai szakaszában az egybites átalakítók. Az egybitesek alapja, elődje az impulzus időtartam moduláció vagy más néven impulzus kitöltési moduláció, külföldiül PDM (Pulse Duration Modulation) elvén működő DA átalakító. Kitöltési tényezőnek nevezzük a négyszögjel logikai „1” értékének és a teljes periódusidejének a viszonyát. A PDM elvű DA átalakító lényege, hogy olyan négyszögjelek sorozatát állítja elő, amelynek kitöltési tényezője arányos az átalakítandó digitális értékekkel. A négyszögjel amplitúdóját valamilyen referenciajel – ez lehet a tápfeszültség is – határozza meg (UR). A kapott UR amplitúdójú négyszögjelet középérték-képzőre, átlagolóra kapcsolják. A kimeneti feszültség egyenesen arányos a bemeneti digitális (D-vel jelölt) értékkel; 0<D<1. Az alábbi ábrán, amely különböző kitöltési tényezőjű négyszögjeleket mutat, Uk a négyszögjel középértéke.

A következő tömbvázlat alapján egy PDM elven működő DA átalakító felépítése követhető.

A PDM jelet órajel-generátorral vezérelt, ún. dekádszámláló és egy digitális összehasonlító egység, komparátor segítségével állítják elő. A digitális komparátor a számláló (C) és a bemenet (D) jelét hasonlítja össze. Amíg a számláló digitális értéke az előrefelé számlálás közben nem éri el a bemeneti jel értékét, addig a komparátor kimenetén logikai „1” van, vagyis a PDM jel értéke logikai „1”. Amikor a számláló kimenetén levő C digitális érték megegyezik a bemeneti D értékkel, a komparátor kimenete logikai „0”-ra vált, és ez a logikai szint marad a ciklus végéig, vagyis a PDM jel ilyenkor logikai „0” szinten van. A komparátor kimenetén keletkező négyszögjel, a PDM jel kitöltési tényezője ezrelékben kifejezve megegyezik a bemeneten levő digitális jel értékével. Az ezrelékes érték azért jön ki, mert a számláló 999-ig számol. A PDM jellel vezérelt K analóg kapcsoló kimenetén olyan négyszögjelet kapunk, amelynek a nagysága vagy UR vagy 0 volt, a vezérlésnek megfelelő kitöltési tényezővel. Ennek a jelnek középértékét úgy kapjuk meg, hogy aluláteresztő szűrőn (középérték-képzőn) vezetjük át. Ennek az átalakítónak az egyik előnye, hogy a folyamatok jelentős része a digitális tartományban zajlik, így nem okoz hibát az analóg alkatrészek pontatlansága, a másik, hogy az átalakítás pontossága elvileg csak az UR referenciafeszültség értékének stabilitásától függ.
Akkor következzék a csodafegyver, a delta-szigma vagy szigma-delta DA átalakító! A nevét onnan kapta, hogy a matekban az összegképzés jele a Σ, a különbségképzésé a Δ. Sajnos, ennek a jószágfélének a leírása vagy túlbonyolított és túl részletes, vagy annyira egyszerű, hogy feltételezhető, hogy maga a költő sem értette. Én is bajban lennék, ha néhai tanárom, Dr. Takács Ferenc nem foglalta volna össze annak idején a Hi-Fi Magazinban, így aztán volt honnan lopnom.
Azt te is tudod, hogy minél szaporább a mintavétel, minél nagyobb a mintavételi frekvencia, annál kevésbé meredek szűrőt kell a kimeneten használni. Azt is tudod, hogy a mintavételi frekvencia növelése ugyan lehetővé teszi a felbontás csökkentését, de ezzel a kvantálási lépcsők száma csökken, a kvantálási zaj viszont nő (lásd a sorozat 26. részét.) Ennek csökkentésében játszik szerepet az integrátor. A következő rajzon a bemenetet X(n)-nel, a kimeneten megjelenő hasznos jelet Y(n)-nel jelölték. Az áramkörben jelentkező zaj jele Z(n), ezt az egyszerűség kedvéért úgy ábrázolták, mintha egy összegzőben adódna hozzá a hasznos jelhez, tehát a kijáraton Y(n)+Z(n) jelenik meg.

Az integrátor olyan erősítő, aminek az erősítése a frekvencia vagy körfrekvencia (ω=2πf) növekedésével 6dB/oktáv meredekséggel csökken. Ez tehát digitális aluláteresztő szűrő; a nevének az az eredete, hogy az ilyen szűrő kijáratán a bejáratra kerülő jel integráltja jelenik meg. A 6dB/oktávos integrátort elsőfokú integrátornak nevezik, a 12 db/oktávos a másodfokú, a 18 dB/oktávos a harmadfokú, stb.
Az integrátornak zajcsökkentő szerepe van, ugyanis ismétlem, a túlmintavétel zajt termel. Ennek a zajnak az oka az, hogy túlmintavételkor a valódi mintavett jeleken kívül a sorozat előző részében említett interpolálás során közbülső jel-értékek is keletkeznek, és ezek megjelennek tükörképként is a mintavételi frekvencia fölött. Szerencsére, az ebből adódó és más, pl. a csonkolásból, kerekítésből eredő zajok spektruma szétterül, tehát a hallható tartományban kisebb lesz a zaj.
A fenti áramkörben a kimenő jelet teljes egészében visszacsatoljuk a bemenetre. Ez tehát rendkívül erős visszacsatolás. Az ilyen visszacsatolt erősítőben az eredő erősítést a visszacsatolási tényező reciproka határozza meg. Minthogy a visszacsatolás egységnyi, az eredő erősítés is egységnyi lesz, vagyis független az integrátor frekvenciafüggő erősítésétől. A zaj átvitele során az odafele úti erősítés egységnyi. A zaj szempontjából az integrátor a visszacsatoló hurokban helyezkedik el. Az eredő erősítést itt is a visszacsatolás reciproka határozza meg. Ennek következtében a zaj kisfrekvenciájú összetevőire az erősítés egynél sokkal kisebb (0,1-1%) lesz, és csak a hangfrekvenciás sávon kívül közelíti meg az egységet. Ez az áramkör tehát az eredetinek a töredékére csökkenti a kerekítéssel okozott zajt a hallásunk szempontjából érzékeny frekvenciatartományban.
A visszacsatolást túlmintavétellel kombináló szabadalmat F. de Jager dolgozta ki a Philips Research Laboratoriesban, 1952-ben. A felbontás visszacsatolással történő javításának elvét, amely a ΔΣ konverzió alapelve, először egy 1954-ben benyújtott szabadalomban írta le C. Chapin Cutler, a Bell Laboratories munkatársa. Lássuk hát, hogyan működik a ΔΣ elvű DA átalakító!

Az átalakító túlmintavételi szűrővel indul, a túlmintavételi szorzó több száz lehet. E túlmintavétellel megsokszorozódik a minták sűrűsége, és a kvantálási zaj igen széles frekvenciatartományban szóródik szét. A következő két blokk szoros egységet képez. A kisfelbontású DA átalakító előtti kerekítés igen durva hibát, zajt, torzítást vinne be a jelbe, ezért zajspektrum alakítóval építik egybe. A zajspektrum alakító az integrátornak a digitális változatát tartalmazza, tulajdonképpen egy digitális szűrő, amelynek a frekvenciamenete hasonló az ott bemutatott erősítőéhez. Az integrátor kimenetéhez csatlakozó kvantálóról a lecsonkolt, tehát "hibás" kimenő jelet visszavezetik a rendszer bemenetére, és ott ellenfázisban hozzáadják a bemenő jelhez. Így a kimeneten megjelenő nagy mintavételi frekvenciájú, kis felbontású jelnek a zajtartalma nem a hallható hangfrekvenciás tartományban (pontosabban, nem a CD-n rögzített hangfrekvenciás tartományban), hanem az afeletti tartományban jelenik meg.
Az első nagyobb példányszámban gyártott, egybites, BitStream fantázianévre keresztelt ΔΣ átalakítón alapuló áramkört a Philips 1987-ben mutatta be; ez volt az SAA 7320 típusjelű IC. Az alábbi első ábrán a visszacsatolt késleltető képezi az integrátort. A kvantáló lényegében egy komparátor, amely egybites kimeneti jelet állít elő, ezt csatolják vissza a kvantálási zaj elnyomása céljából. Ez egyelsőrendű ΔΣ modulátor. Alatta a másodrendű ΔΣ modulátor két változatát láthatod.

A BitStream átalakító működésének folyamatát a következő ábra ismerteti.

A háromfokozatú, túlmintavételi szűrő után a 44,1 kHz-es, 16 bites jelsorozatból 256-szoros túlmintavétellel 11,2896 MHz-es, 17 bites jelsorozat keletkezik. A második túlmintavétel után digitális zajmodulációval masszírozzák a jelet; ezzel a visszacsatolt jel okozta gerjedési hajlamot szüntetik meg. A másodrendű zajspektrum alakítóval megvalósított ΔΣ modulátor állítja elő az egybites, ellenfázisú kimeneti jelet. Ez azt jelenti, hogy logikai „1” jelnél pozitív, logikai „0” jelnél azonos abszolútértékű, de negatív feszültséget ad ki az átalakító. Így lényegében PDM jelet kapunk.
A korai egybites DA átalakítók kisjelű viselkedése jobb volt, mint pl. a sorozat előző részében bemutatott R-2R elvű sokbiteseké, azonban a zajuk nagyobb volt. Az egybitesek az R-2R-ekhez képest legalább két hibát visznek be a rendszerbe. Az egyik az, hogy az interpolációval előállított, tehát becsült jelek sok esetben eltérnek az eredeti, analóg jeltől, s ez torzítást okoz. A másik, hogy kínlódásokkal szüntet meg olyan zajokat, ami a nem túlmintavételezett R-2R elvűekben nincs is. A későbbi egybitesek zaja csökkent, az R-2R elvűek linearitása pedig sokat javult.
Napjaink CD játszóiban többnyire egybites, ΔΣ alapú DA átalakító van, s nem csupán amiatt, mert ez olcsóbb, mint az R-2R alapú, hanem amiatt is, mert különösen az audiofil CD játszók nemcsak hagyományos CD-t tudnak lejátszani, hanem pl. MQA CD-t is (lásd a sorozat 484. részét). A különleges szerkezetek közé tartozik a 2023-ban bemutatott, nálunk kb. egymillió forintért vesztegetett TEAC VRDS-701 típusú jószág. A ΔΣ alapú DA átalakító állítólag nem integrált áramkör, hanem a TEAC fejlesztése, és diszkrét alkatrészekből áll, ami azért elég nehezen hihető.

A tesztek az egekbe magasztalják, de pl. mérési eredményeket nem közölnek. A cég honlapján elég részletes ismertető található.
https://teac.jp/int/product/vrds-701/spec
A VRDS 701T-ben füles erősítő is van.
Bármily különös, még mindig gyártanak olyan CD-játszót, amelyik csak a Vörös Könyv szerinti CD-ket játssza le, semmi mást – esetleg az írható és az újraírható CD-ket is. Az ilyen csodabogarak közé tartozik a norvég Hegel Music Systems Viking nevű szerkezete, amelyet nálunk csaknem kétmillió forintért kínálnak, igaz, ingyenes a házhoz szállítás.

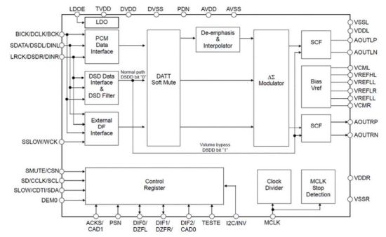
A fenekében a hálózati aljzaton kívül csak két aszimmerikus RCA kimenet, két szimmetrikus XLR kimenet és egy digitális BNC kimenet foglal helyet – ez utóbbi annak érdekében, hogy külső DA átalakítót is csatlakoztathass hozzá, ami esetleg a CD játszó árának a másfélszeresébe kerül, de a tesztek szerint még szebben szól vele a kütyü. A készülék lelke az AKM AK4493 SEQ típusú DA átalakító, amelynek tömbvázlatából kiderül, hogy DSD dekóder is van benne, de azt a Viking nem használja.

A gyomra szépen rendezett. Egyébként az is meglepő, hogy a futómű nem tálcás, hanem résbetöltésű (lásd a sorozat 485. részét). Állítólag olyan cégtől vásárolja a futóművet a Hegel, amelyik jóféle autókba való, minőségibb típusokat gyártott, és maradt egy dózis raktárkészlete.

Az is ritkaság, hogy néhány teszt mérési jegyzőkönyveket is tartalmazott.
29 héten keresztül boncolgattam a kompaktlemez és környéke lelkivilágát. Ideje továbblépni. Vagyis...