Cs. Kádár Péter - XXI. századi diszkónika, 198. Kerekded hangok
Az elektromechanikus hangszerek közül a legnagyobb karrier kétségtelenül a Hammond orgonáé. Ennek egyik oka, hogy jó időben született meg a hangszer. A másik, hogy rengeteg pénzt nyomtak a reklámozásába. A harmadik, hogy ugyanúgy nem orgona, ahogy a Rhodes zongora sem zongora, jóllehet, a hangzása közelebb áll a sípos orgonáéhoz, mint a Rhodes zongora hangja az akusztikus zongoráéhoz.
Az elektromechanikus Hammond orgonából kb. kétmillió darabot gyártottak, és becslések szerint egymilliárd dollár volt a tiszta haszon. Ez utóbbi hangzatos számnak amúgy semmi értelme, hiszen a dollár értéke folyamatosan változott. De azt azért mondhatjuk, hogy nagyot kaszáltak vele, és nagyon sok embernek szereztek örömet.
A Hammond orgona története egyrészt nagyon izgalmas technológiai értelemben, másrészt nagyon jól szemlélteti a kapitalizmus összes sajátosságát – különös tekintettel a „szabad” versenyre. Szerencsére, a Hammond orgonának jól dokumentált tényei és legendái vannak, és különösen sok remek felvétel készült a Hammond orgonával. Például ez:
Vagy ez:
Helyenként benyomok majd egy-egy nótát, hogy megemészthesd az olvasottakat!
De azért nem minden mondat után.
Vagy mégis?
Na jó. Igyekszem majd visszafogni magam. Csak még egyet…
A Hammond orgona alapötlete a Telharmoniumra vezethető vissza (lásd a sorozat 191. részét). Pontosabban arra, hogy bármilyen rezgés – a zaj kivételével – előállítható szinuszos rezgésekből. Minél periodikusabb egy hang, annál kevesebb szinuszos jel egyidejű megszólaltatására, összegzésére van szükség. A ténylegesen létező hangszerek hangja ugyan meglehetősen periodikus, viszont időben eléggé változó. Ha képesek lennénk minden pillanatban elemezni, hogy éppen milyen összetevői vannak egy-egy hangnak, akkor végtelen számú, nulla időtartamú szinuszból tökéletesen összerakható volna bármilyen hang. Ez természetesen lehetetlen, de nincs is rá szükség. Hiszen a hangok változásához is idő kell, továbbá azokat az összetevőket, amiket biztosan nem hallunk vagy azért, mert oly parányi az amplitúdójuk, vagy amiatt, mert a frekvenciájuk olyan tartományba esik, amire a hallórendszerünk nem érzékeny, fölösleges előállítani. Árnyalja a helyzetet, hogy vannak olyan összetevők, amelyeket ugyan nem hallunk, de beleszólnak a hallhatók tulajdonságaiba. A Hammond orgona megalkotásakor azonban nemcsak ez utóbbi tényezőt nem vették figyelembe, hanem ennél durvább sajátosságokat sem, mert nem elméleti cél volt egy elektromos orgona előidézése, hanem az – mint csaknem minden mérnöki alkotás esetén –, hogy sorozatban gyártható szerkezet készülhessen a vásárlóknak megfelelő minőségben és olyan áron, ami nem riasztja el az embereket.
A Hammond orgona kinézetre hasonlít egy egyszerűbb sípos orgona játszóasztalához. Két billentyűzete és egy pedálsora van.

A klasszikus, elektromechanikus Hammond orgona lelke acél hangkerekekből és annyi elektromágnesből áll, ahány hangkerék van. A hangkerék birizgálja az elektromágnes mágneses terét, amelynek hatására a tekercsben feszültség indukálódik (lásd a sorozat 17-18. részét).

A kimeneten (signal out) megjelenő feszültség alakja azért szinusz jellegű, mert a hangkeréknek speciális alakú fogazata van. Ezt a fogalakot, fogprofilt szinuszevolvensnek nevezik, de attól, hogy ilyen szavakat olvasol, még lehetsz rendes ember. A hang magassága a kerék fordulatszámától és a fogazat sűrűségétől függ. A Hammond orgona összes hangkereke folyamatosan forog a hangszer működtetésekor. Azokról az elektromágnesekről mennek tovább az immár elektromos rezgések, amelyeket a billentyűk a további áramkörök bemenetére kapcsolnak. A Hammond orgonában többnyire 91 hangkerék van. A hangkerekeket egyetlen közös motor hajtja meg áttételeken keresztül, egy szellemes elrendezés segítségével.

A Hammond orgona feltalálója, Laurens Hammond, korábban villamos órákat tervezett és gyártatott.

A Hammond orgona precíz elektromechanikai szerkezetében ez a mérnöki tudás érhető tetten. Nézd, milyen aprólékos a szabadalmi leírás egyik oldala is!

Hm… A szabadalom. Laurens Hammond feltűnően gyorsan szerezte meg a szabadalmi védettséget, mindössze néhány óra alatt jegyezték be a találmányát. Holott a hangkerekek, elektromágnesek és erősítők alkalmazására volt már kicsit korábban példa. Egy bizonyos Frank Morse Robb kanadai fickó 1927-ben mutatta be a „Robb Wave Organ” nevű cuccost.

Maga a hangkerék ötlet 1909-ből származik, Melvin Severy épített hangkerekes-elektromágneses hangszert, de erősítő nélkül.

Robb nagyon részletesen indokolta, hogy miért van szükség az elektronikus erősítőre, és például azt is kitalálta, hogy a hangkerekek számát hogyan lehet ugyanarról a tengelyről megduplázni. A hangkerekek szélének mintázata azonban nem szinuszevolvens, hanem sokkal bonyolultabb, az orgonasípok produkálta jelformának mintázata volt, mai fogalmainkkal élve, nem alap- és felhangokból, hanem hangmintákból képezte a hangszer hangját, amely így – azt mondják – orgonaszerűbben szólt, mint a Hammond orgona. Az alábbi videóban az 1937-ben bemutatott változat szólal meg.
Robb ezután kiszállt a buliból, mert szerkezete drágább volt, mint a Hammond orgona. Laurens Hammond fölényesen győzött – a technikatörténészek máig vitatják, hogy lopott-e.
Egy kibelezett Hammond orgona elektromechanikus egysége, a teljes hanggenerátor fotója látható az alábbi ábrán. A fotó jobboldali szélén van a meghajtó motor.

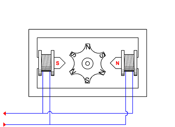
Ez a motor váltóáramú szinkron motor, aminek az a számunkra legfőbb jellemzője, hogy felpörgés után a hálózati frekvenciához nagyon szorosan kötődik a fordulatszáma. Az USA-ban 60 Hz-es a hálózat, a motor fordulatszáma percenként 1 800, Európában pedig 50 Hz a hálózati frekvencia, és az Európába szállított modellekben 1 500 a motor fordulatszáma. Ha a hálózati frekvencia stabil, akkor a Hammond orgona egyes hangjainak magassága sem változik, tehát a hangszert nem kell hangolni. Sőt, nem is lehet.
A motort kicsit jobban is láthatod a következő képen.

A motor elvi működése pedig az animáción látható (N = északi pólus, S = déli pólus).

A szinkron motor nem tud önmagától elindulni. A Hammond orgona üzembe helyezése a főkapcsoló bekapcsolása után egy kis indító motor segítségével történik, amellyel a régebbi típusokban külön kellett szarakodni.
Tudod mit? Muzsikáljunk megint!
A szinusz önmagában nem élvezhető, ezért egy-egy billentyű lenyomás több hangkereket kapcsol a további áramkörökre. Hammond úgy ítélte meg, hogy a hang színezetéhez elég összekeverni az alaphang nyolc felharmonikusát. Továbbá azokat felharmonikusokat tette megszólaltathatóvá, melyek megegyeznek a magasabb zenei hangok alapharmonikusaival. Így egy kerék a hozzá tartozó alaphang mellett több másik alaphang valamelyik harmonikusát is képes megszólaltatni. Mondjuk, a 440 Hz-es alaphangú hangkerék segítségével szólal meg a 220 Hz-es alaphang első felharmonikusa (második harmonikusa) és a 110 Hz-es alaphang harmadik felharmonikusa (negyedik harmonikusa). Takarékossági okokból például nem szerepel a Hammond orgona felhangrendszerében a hetedik felharmonikus, mert ez újabb hangkerekeket igényelne. Ugyanakkor két szubharmonikus frekvenciát is lehet keverni a hanghoz (az alaphang frekvenciájának felét és harmadát), így összesen kilenc összetevő keverésére van mód. A legmagasabb hangok esetén a nyolcadik harmonikust megduplázzák, így ismét csökkenthető lett a hangkerekek száma.
A harmonikusok amplitúdó arányait regiszterek segítségével lehet változtatni. A regiszterekkel az egyes hangkerekeknek az elektromágnestől való távolságát állítjuk be. A korábbi modellekben a regiszterekkel nyolc diszkrét amplitúdó érték beállítására volt lehetőség, ami összesen 387 420 489 tónusvariációt jelent. Amikor a Hammond orgonák először piacra dobták, a Hammond reklámjaiban tetszőleges variációjú orgonahangot hirdettek. Ezzel az állítással szemben pert indítottak, és ezt a pert – pontosabban, egy nagyobb pernek ezt a részét – el is veszítette a Hammond cég. A későbbi fejlesztések során folytonossá tették ezt a skálát, de akkor ez már senkit nem hatott meg. Miként a sípos orgonákban, a Hammond orgonában is lábakkal (a „sípok” hosszúságával) jelölik a regisztereket.

A regiszterek kapcsolási rajzán látható lezáró ellenállásokra azért van szükség, hogy az egyes jelforrások ne pofázzanak vissza, ne terheljék egymást, illetve, a bemenet véletlenül se záródjon rövidre.

Az összegzéshez transzformátorokat használnak a Hammond orgonákban. Ezeknek kilenc primer és egy szekunder tekercsük van. Mindkét billentyűzethez egy-egy trafó tartozik.

A trafónak nagy a kimenő impedanciája, ezért rövid vezetékkel csatlakozik az előerősítőhöz.
A Hammond orgona regisztrálása ugyanolyan tudomány, mint a sípos orgonáé. Függ a műfajtól vagy az előadó személyiségétől is. Számos tanulmány foglalkozik e tudomány matematikájával és esztétikájával, vagy megpróbálja megfejteni, hogyan is regisztráltak egyes művészek, s konkrét beállításokat javasolnak. A Hammond orgona billentyűzeteitől balra van néhány különleges billentyű. Ezek nem hangok lejátszására valók, hanem gyárilag előre programozott regiszter kapcsolók, amelyek a leggyakoribb regiszter kombinációk gyors váltását teszik lehetővé. A gyári beállításokat a hangszer hátoldalán meg lehet változtatni, ha ért valaki hozzá.
